Rear Body for 2011 INFINITI M56
Vehicle
2011 INFINITI M56
Change Vehicle
- Aperture Panel
- Bumper & Components - Front
- Bumper & Components - Rear
- Center Console
- Cluster & Switches
- Cowl
- Door & Components
- Driver Seat Components
- Ducts
- Exterior Trim - Fender
- Exterior Trim - Front Door
- Exterior Trim - Pillars
- Exterior Trim - Quarter Panel
- Exterior Trim - Rear Door
- Exterior Trim - Roof
- Exterior Trim - Trunk
- Fender & Components
- Floor & Rails
- Front Bumper
- Front Door
- Front Seat Components
- Fuel Door
- Glass - Front Door
- Glass - Rear Door
- Glass - Windshield
- Glass & Hardware
- Glass & Hardware - Back
- Glove Box
- Grille & Components
- Hood & Components
- Inner Structure
- Instrument Panel
- Instrument Panel Components
- Interior Trim - Front Door
- Interior Trim - Pillars
- INTERIOR TRIM - QUARTER PANELS
- Interior Trim - Rear Body
- Interior Trim - Rear Door
- Interior Trim - Roof
- INTERIOR TRIM - TRUNK
- Jack & Components
- Labels
- Lid & Components
- Lock & Hardware
- Master Cylinder - Components On Dash Panel
- Outside Mirrors
- Quarter Panel & Components
- Radiator Support
- Rear Body
- Rear Door
- Rear Floor & Rails
- Rear Seat Components
- Roof & Components
- Seat Belt
- Sound System
- Splash Shields
- Structural Components & Rails
- Sunroof
- Trunk
- Wiper & Washer Components
- ABS Components
- Air Bag Components
- Alternator
- Antenna & Radio
- Anti-Theft Components
- Backup Lamps
- Battery
- Bulbs - Chassis
- Communication System Components
- Controls
- Cruise Control System
- Electrical Components
- Fog Lamps
- Front Door
- Front Seat Belts
- Fuel Door
- Fuse & Relay
- Gauges
- Headlamp Components
- Heated Seats
- High Mounted Stop Lamp
- Horn
- Ignition Lock
- Ignition System
- Instruments & Gauges
- Keyless Entry Components
- Lane Departure Warning
- License Lamps
- Navigation System
- Navigation System Components
- Parking Aid
- Power Seats
- Powertrain Control
- Rear Door
- Rear Seat Belts
- Seat Belt
- Senders
- Starter
- Sunroof
- Switches
- Tail Lamps
- Tire Pressure Monitor Components
- Trunk
- Voltage Regulator
- Wipers
- Wiring Harness
- Aperture Panel
- Bumper & Components - Front
- Bumper & Components - Rear
- Center Console
- Cluster & Switches
- Cowl
- Door & Components
- Driver Seat Components
- Ducts
- Exterior Trim - Fender
- Exterior Trim - Front Door
- Exterior Trim - Pillars
- Exterior Trim - Quarter Panel
- Exterior Trim - Rear Door
- Exterior Trim - Roof
- Exterior Trim - Trunk
- Fender & Components
- Floor & Rails
- Front Bumper
- Front Door
- Front Seat Components
- Fuel Door
- Glass - Front Door
- Glass - Rear Door
- Glass - Windshield
- Glass & Hardware
- Glass & Hardware - Back
- Glove Box
- Grille & Components
- Hood & Components
- Inner Structure
- Instrument Panel
- Instrument Panel Components
- Interior Trim - Front Door
- Interior Trim - Pillars
- INTERIOR TRIM - QUARTER PANELS
- Interior Trim - Rear Body
- Interior Trim - Rear Door
- Interior Trim - Roof
- INTERIOR TRIM - TRUNK
- Jack & Components
- Labels
- Lid & Components
- Lock & Hardware
- Master Cylinder - Components On Dash Panel
- Outside Mirrors
- Quarter Panel & Components
- Radiator Support
- Rear Body
- Rear Door
- Rear Floor & Rails
- Rear Seat Components
- Roof & Components
- Seat Belt
- Sound System
- Splash Shields
- Structural Components & Rails
- Sunroof
- Trunk
- Wiper & Washer Components
- ABS Components
- Air Bag Components
- Alternator
- Antenna & Radio
- Anti-Theft Components
- Backup Lamps
- Battery
- Bulbs - Chassis
- Communication System Components
- Controls
- Cruise Control System
- Electrical Components
- Fog Lamps
- Front Door
- Front Seat Belts
- Fuel Door
- Fuse & Relay
- Gauges
- Headlamp Components
- Heated Seats
- High Mounted Stop Lamp
- Horn
- Ignition Lock
- Ignition System
- Instruments & Gauges
- Keyless Entry Components
- Lane Departure Warning
- License Lamps
- Navigation System
- Navigation System Components
- Parking Aid
- Power Seats
- Powertrain Control
- Rear Door
- Rear Seat Belts
- Seat Belt
- Senders
- Starter
- Sunroof
- Switches
- Tail Lamps
- Tire Pressure Monitor Components
- Trunk
- Voltage Regulator
- Wipers
- Wiring Harness
Browse Categories
Select category
- Aperture Panel
- Bumper & Components - Front
- Bumper & Components - Rear
- Center Console
- Cluster & Switches
- Cowl
- Door & Components
- Driver Seat Components
- Ducts
- Exterior Trim - Fender
- Exterior Trim - Front Door
- Exterior Trim - Pillars
- Exterior Trim - Quarter Panel
- Exterior Trim - Rear Door
- Exterior Trim - Roof
- Exterior Trim - Trunk
- Fender & Components
- Floor & Rails
- Front Bumper
- Front Door
- Front Seat Components
- Fuel Door
- Glass - Front Door
- Glass - Rear Door
- Glass - Windshield
- Glass & Hardware
- Glass & Hardware - Back
- Glove Box
- Grille & Components
- Hood & Components
- Inner Structure
- Instrument Panel
- Instrument Panel Components
- Interior Trim - Front Door
- Interior Trim - Pillars
- INTERIOR TRIM - QUARTER PANELS
- Interior Trim - Rear Body
- Interior Trim - Rear Door
- Interior Trim - Roof
- INTERIOR TRIM - TRUNK
- Jack & Components
- Labels
- Lid & Components
- Lock & Hardware
- Master Cylinder - Components On Dash Panel
- Outside Mirrors
- Quarter Panel & Components
- Radiator Support
- Rear Body
- Rear Door
- Rear Floor & Rails
- Rear Seat Components
- Roof & Components
- Seat Belt
- Sound System
- Splash Shields
- Structural Components & Rails
- Sunroof
- Trunk
- Wiper & Washer Components
- ABS Components
- Air Bag Components
- Alternator
- Antenna & Radio
- Anti-Theft Components
- Backup Lamps
- Battery
- Bulbs - Chassis
- Communication System Components
- Controls
- Cruise Control System
- Electrical Components
- Fog Lamps
- Front Door
- Front Seat Belts
- Fuel Door
- Fuse & Relay
- Gauges
- Headlamp Components
- Heated Seats
- High Mounted Stop Lamp
- Horn
- Ignition Lock
- Ignition System
- Instruments & Gauges
- Keyless Entry Components
- Lane Departure Warning
- License Lamps
- Navigation System
- Navigation System Components
- Parking Aid
- Power Seats
- Powertrain Control
- Rear Door
- Rear Seat Belts
- Seat Belt
- Senders
- Starter
- Sunroof
- Switches
- Tail Lamps
- Tire Pressure Monitor Components
- Trunk
- Voltage Regulator
- Wipers
- Wiring Harness
- Aperture Panel
- Bumper & Components - Front
- Bumper & Components - Rear
- Center Console
- Cluster & Switches
- Cowl
- Door & Components
- Driver Seat Components
- Ducts
- Exterior Trim - Fender
- Exterior Trim - Front Door
- Exterior Trim - Pillars
- Exterior Trim - Quarter Panel
- Exterior Trim - Rear Door
- Exterior Trim - Roof
- Exterior Trim - Trunk
- Fender & Components
- Floor & Rails
- Front Bumper
- Front Door
- Front Seat Components
- Fuel Door
- Glass - Front Door
- Glass - Rear Door
- Glass - Windshield
- Glass & Hardware
- Glass & Hardware - Back
- Glove Box
- Grille & Components
- Hood & Components
- Inner Structure
- Instrument Panel
- Instrument Panel Components
- Interior Trim - Front Door
- Interior Trim - Pillars
- INTERIOR TRIM - QUARTER PANELS
- Interior Trim - Rear Body
- Interior Trim - Rear Door
- Interior Trim - Roof
- INTERIOR TRIM - TRUNK
- Jack & Components
- Labels
- Lid & Components
- Lock & Hardware
- Master Cylinder - Components On Dash Panel
- Outside Mirrors
- Quarter Panel & Components
- Radiator Support
- Rear Body
- Rear Door
- Rear Floor & Rails
- Rear Seat Components
- Roof & Components
- Seat Belt
- Sound System
- Splash Shields
- Structural Components & Rails
- Sunroof
- Trunk
- Wiper & Washer Components
- ABS Components
- Air Bag Components
- Alternator
- Antenna & Radio
- Anti-Theft Components
- Backup Lamps
- Battery
- Bulbs - Chassis
- Communication System Components
- Controls
- Cruise Control System
- Electrical Components
- Fog Lamps
- Front Door
- Front Seat Belts
- Fuel Door
- Fuse & Relay
- Gauges
- Headlamp Components
- Heated Seats
- High Mounted Stop Lamp
- Horn
- Ignition Lock
- Ignition System
- Instruments & Gauges
- Keyless Entry Components
- Lane Departure Warning
- License Lamps
- Navigation System
- Navigation System Components
- Parking Aid
- Power Seats
- Powertrain Control
- Rear Door
- Rear Seat Belts
- Seat Belt
- Senders
- Starter
- Sunroof
- Switches
- Tail Lamps
- Tire Pressure Monitor Components
- Trunk
- Voltage Regulator
- Wipers
- Wiring Harness
No.
Part # / Description / Price
Price
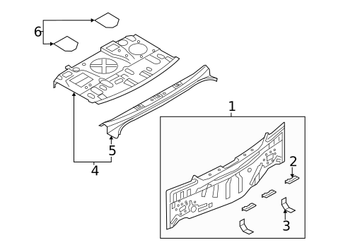
2
Rear Body Panel Support Bracket
Infiniti
Infiniti Notes: PARTS: Part included with rear body panel.
Description: Coupe, inner. Convertible, inner.
MSRP $58.64
$41.93
MSRP $58.64
$41.93
3
Rear Body Panel Lower Support
Infiniti
Infiniti Positions: Left
Notes: PARTS: Part included with rear body panel.
Description: Sedan.
MSRP $35.62
$27.43
MSRP $35.62
$27.43
5
MSRP $481.36
$304.46